Основные технические параметры
| Наименование | Значение |
|---|---|
| Номинальное напряжение, В | 6,3…100 |
| Номинальная ёмкость, мкФ | 4,7…1500 |
| Допускаемое отклонение ёмкости (25 °C, 50 Гц), % | ±20 |
| Повышенная температура среды Tокр, максимальное значение при эксплуатации, °С | +105 |
| Пониженная температура среды Tокр, минимальное значение при эксплуатации, °С | -60 |
Внешний вид конденсаторов
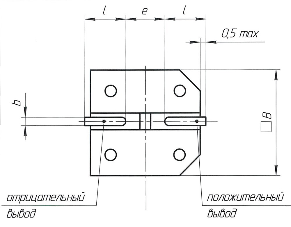
Габаритные, установочные и присоединительные размеры
Габаритные размеры |
|||||||||
| Диаметр алюминиевого корпуса, D | 4±0,5 | 5±0,5 | 6,3±0,5 | 6,3±0,5 | 8±0,5 | 10±0,5 | 12,5±0,5 | 16,0±0,5 | 18,0±0,5 |
| Высота конденсатора с учетом выступания контактных площадок, L | 5,8±0,3 | 5,8±0,3 | 6,1±0,3 | 8,0±0,3 | 10,5±0,3 | 10,5±0,3 | 13,8±0,5 | 16,8±0,5 | 16,8±0,5 |
| Длина пластиковой платформы, A | 4,3±0,2 | 5,3±0,2 | 6,6±0,2 | 6,6±0,2 | 8,3±0,2 | 10,3±0,2 | 13,6±0,2 | 17,1±0,2 | 19,1±0,2 |
| Ширина пластиковой платформы, без учета выступания контактных площадок, В | 4,3±0,2 | 5,3±0,2 | 6,6±0,2 | 6,6±0,2 | 8,3±0,2 | 10,3±0,2 | 13,6±0,2 | 17,1±0,2 | 19,1±0,2 |
Установочные и присоединительные размеры |
|||||||||
| Длина контактных площадок, l | 1,8±0,2 | 2,1±0,2 | 2,4±0,2 | 2,4±0,2 | 3,1±0,3 | 3,4±0,3 | 5,0±0,3 | 5,6±0,3 | 6,6±0,3 |
| Ширина контактных площадок, b | 0,65±0,1 | 0,65±0,1 | 0,65±0,1 | 0,65±0,1 | 0,9+0,2 | 0,9+0,2 | 1,2±0,2 | 1,2±0,2 | 1,2±0,2 |
| Расстояние между контактными площадками, е | 1±0,2 | 1,3±0,2 | 1,8±0,3 | 1,8±0,3 | 3,1±0,4 | 4,0±0,5 | 4,0±0,5 | 6,3±0,5 | 6,3±0,5 |
| Выступания контактных площадок, k | 0,5max | ||||||||
| Масса, г, не более | 0.38 | 0.52 | 0.65 | 0.82 | 1.35 | 1.72 | 11.24 | 13.56 | 14.47 |
Примеры маркировок
| Тип изделия | D, мм, ±0,5 | L, мм | e, мм | l, мм | B, мм, ±0,2 | b, мм | Маркировка, вид |
||||
|---|---|---|---|---|---|---|---|---|---|---|---|
| Ном. | Пред. откл. | Ном. | Пред. откл. | Ном. | Пред. откл. | Ном. | Пред. откл. |
||||
| К50-107, К50-107а | 4 | 5,8 | ±0,3 | 1 | ±0,2 | 1,8 | ±0,2 | 4,3 | 0,65 | ±0,1 | А или Б |
| 5 | 1,3 | 2,1 | 5,3 | ||||||||
| 6,3 | 6,1 | 1,8 | ±0,3 | 2,4 | 6,6 | ||||||
| 8,0 | |||||||||||
| 8 | 10,5 | 3,1 | ±0,4 | 3,1 | ±0,3 | 8,3 | 0,9 | +0,2 | |||
| 10 | 4 | ±0,5 | 3,4 | 10,3 | |||||||
| 12,5 | 13,8 | ±0,5 | 5,0 | 13,6 | 1,2 | ±0,2 | Г или Д | ||||
| 16 | 16,8 | 6,3 | 5,6 | 17,1 | |||||||
| 18 | 6,6 | 19,1 | |||||||||
Номиналы конденсатора
| Uном, В | 6.3 | 10 | 16 | 25 | 35 | 50 | 63 | 100 |
|---|---|---|---|---|---|---|---|---|
| Cном, мкФ | ||||||||
| 4,7 | ✓ | ✓ | ||||||
| 10 | ✓ | ✓ | ✓ | ✓ | ✓ | |||
| 22 | ✓ | ✓ | ✓ | ✓ | ✓ | ✓ | ✓ | ✓ |
| 33 | ✓ | ✓ | ✓ | ✓ | ✓ | ✓ | ||
| 47 | ✓ | ✓ | ✓ | ✓ | ✓ | ✓ | ✓ | |
| 68 | ✓ | ✓ | ✓ | ✓ | ✓ | |||
| 100 | ✓ | ✓ | ✓ | ✓ | ✓ | ✓ | ✓ | |
| 150 | ✓ | ✓ | ✓ | ✓ | ✓ | ✓ | ||
| 220 | ✓ | ✓ | ✓ | ✓ | ✓ | ✓ | ✓ | ✓ |
| 330 | ✓ | ✓ | ✓ | ✓ | ✓ | ✓ | ||
| 470 | ✓ | ✓ | ✓ | ✓ | ✓ | ✓ | ||
| 680 | ✓ | ✓ | ✓ | ✓ | ||||
| 1 000 | ✓ | ✓ | ||||||
| 1 500 | ✓ | |||||||
Значения электрических параметров конденсаторов при поставке
| Номинальное напряжение Uном, В | Номинальная ёмкость Сном, мкФ, при Т=+(20±5)°С, F=120 Гц | D, мм | L, мм | Тангенс угла потерь tg δ, %, при Т=+(20±5)°С, F=120 Гц | Ток утечки, Iут, мкА, при Т=+(20±5)°С, 2 мин | Полное сопротивление Z, Ом, при Т=+(20±5)°С, F=100 кГц | Номинальный ток, Iном, мА, при Т=+105°С, F=100 кГц |
||
|---|---|---|---|---|---|---|---|---|---|
| режим пайки (225°С) | режим пайки (260°С) | режим пайки (225°С) | режим пайки (260°С) | ||||||
| не более | не более | не более | не более | не более | номинал | ||||
| 6.3 | 22 | 4 | 5.8 | 26 | 26 | 3 | 2.3 | 3.82 | 90 |
| 47 | 4 | 5.8 | 3 | 2.3 | 3.82 | 90 | |||
| 5 | 5.8 | 3 | 1.24 | 1.98 | 160 | ||||
| 100 | 5 | 5.8 | 6.3 | 1.24 | 1.98 | 160 | |||
| 6.3 | 6.1 | 6.3 | 0.64 | 1.02 | 240 | ||||
| 220 | 6.3 | 6.1 | 13.86 | 0.64 | 1.02 | 240 | |||
| 330 | 6.3 | 8 | 20.8 | 0.6 | 0.96 | 280 | |||
| 470 | 8 | 10.5 | 29.61 | 0.28 | 0.45 | 600 | |||
| 1000 | 8 | 10.5 | 63 | 0.28 | 0.45 | 600 | |||
| 1500 | 10 | 10.5 | 94.5 | 0.14 | 0.23 | 850 | |||
| 10 | 22 | 4 | 5.8 | 19 | 19 | 3 | 2.39 | 4.19 | 90 |
| 33 | 4 | 5.8 | 3.3 | 2.39 | 4.19 | 90 | |||
| 5 | 5.8 | 3.3 | 1.24 | 2.17 | 160 | ||||
| 150 | 6.3 | 6.1 | 15 | 0.64 | 1.12 | 240 | |||
| 220 | 6.3 | 8 | 22 | 0.6 | 1.05 | 280 | |||
| 330 | 8 | 10.5 | 33 | 0.28 | 0.5 | 600 | |||
| 470 | 8 | 10.5 | 47 | 0.28 | 0.4 | 600 | |||
| 680 | 8 | 10.5 | 68 | 0.28 | 0.35 | 600 | |||
| 1000 | 10 | 10.5 | 100 | 0.14 | 0.25 | 850 | |||
| 16 | 10 | 4 | 5.8 | 16 | 20 | 3 | 3.65 | 6.75 | 90 |
| 22 | 4 | 5.8 | 3.52 | 3.65 | 6.75 | 90 | |||
| 5 | 5.8 | 3.52 | 1.89 | 3.5 | 160 | ||||
| 47 | 5 | 5.8 | 7.52 | 1.89 | 3.5 | 160 | |||
| 6.3 | 6.1 | 7.52 | 0.97 | 1.8 | 240 | ||||
| 68 | 6.3 | 6.1 | 10.88 | 1.62 | 3 | 240 | |||
| 100 | 6.3 | 6.1 | 16 | 0.97 | 1.5 | 240 | |||
| 150 | 6.3 | 8 | 24 | 0.92 | 1.5 | 280 | |||
| 220 | 6.3 | 8 | 35.2 | 0.92 | 1.5 | 280 | |||
| 330 | 8 | 10.5 | 52.8 | 0.43 | 0.7 | 600 | |||
| 470 | 8 | 10.5 | 75.2 | 0.43 | 0.6 | 600 | |||
| 680 | 10 | 10.5 | 108.8 | 0.22 | 0.4 | 850 | |||
| 25 | 10 | 4 | 5.8 | 14 | 14 | 3 | 3.39 | 5.4 | 90 |
| 22 | 5 | 5.8 | 5.5 | 1.24 | 2.8 | 160 | |||
| 33 | 5 | 5.8 | 8.25 | 1.24 | 2.8 | 160 | |||
| 6.3 | 6.1 | 8.25 | 0.64 | 1.44 | 240 | ||||
| 47 | 6.3 | 6.1 | 11.75 | 0.64 | 1.65 | 240 | |||
| 68 | 6.3 | 6.1 | 17 | 0.64 | 1.3 | 240 | |||
| 100 | 6.3 | 8 | 25 | 0.6 | 0.9 | 280 | |||
| 150 | 8 | 10.5 | 37.5 | 0.28 | 0.64 | 600 | |||
| 220 | 8 | 10.5 | 55 | 0.28 | 0.5 | 600 | |||
| 330 | 8 | 10.5 | 82.5 | 0.16 | 0.45 | 600 | |||
| 10 | 10.5 | 82.5 | 0.5 | 0.5 | 600 | ||||
| 470 | 10 | 10.5 | 117.5 | 0.14 | 0.3 | 850 | |||
| 35 | 4.7 | 4 | 5.8 | 12 | 12 | 3 | 2.57 | 8.1 | 90 |
| 10 | 4 | 5.8 | 3.5 | 2.57 | 8.1 | 90 | |||
| 5 | 5.8 | 3.5 | 1.33 | 4.2 | 160 | ||||
| 22 | 5 | 5.8 | 7.7 | 1.33 | 4.2 | 160 | |||
| 33 | 6.3 | 6.1 | 11.55 | 0.68 | 1.8 | 240 | |||
| 47 | 6.3 | 6.1 | 16.45 | 0.68 | 1.3 | 240 | |||
| 68 | 6.3 | 8 | 23.8 | 0.65 | 1.3 | 280 | |||
| 100 | 6.3 | 8 | 35 | 0.65 | 0.9 | 280 | |||
| 8 | 10.5 | 35 | 0.3 | 0.96 | 600 | ||||
| 150 | 8 | 10.5 | 52.5 | 0.3 | 0.96 | 600 | |||
| 220 | 8 | 10.5 | 77 | 0.3 | 0.6 | 600 | |||
| 330 | 10 | 10.5 | 115.5 | 0.12 | 0.3 | 850 | |||
| 50 | 10 | 5 | 5.8 | 10 | 10 | 5 | 3.04 | 3.04 | 85 |
| 6.3 | 6.1 | 5 | 1.76 | 1.76 | 165 | ||||
| 22 | 6.3 | 6.1 | 11 | 1.76 | 1.76 | 165 | |||
| 33 | 6.3 | 8 | 16.5 | 1.36 | 1.36 | 195 | |||
| 8 | 10.5 | 16.5 | 1.36 | 1.36 | 195 | ||||
| 47 | 6.3 | 8 | 23.5 | 1.36 | 1.36 | 195 | |||
| 8 | 10.5 | 23.5 | 0.68 | 0.68 | 195 | ||||
| 100 | 10 | 10.5 | 50 | 0.68 | 0.68 | 350 | |||
| 220 | 12.5 | 13.8 | 110 | 0.18 | 0.18 | 670 | |||
| 330 | 12.5 | 13.8 | 165 | 0.6 | 0.24 | 900 | |||
| 470 | 16 | 16.8 | 235 | 0.5 | 0.5 | 1610 | |||
| 680 | 16 | 16.8 | 340 | 0.5 | 0.5 | 1610 | |||
| 63 | 4.7 | 5 | 5.8 | 8 | 8 | 3 | 5.64 | 6 | 50 |
| 10 | 6.3 | 6.1 | 6.3 | 2.82 | 3 | 80 | |||
| 22 | 6.3 | 8 | 13.86 | 2.26 | 2.4 | 120 | |||
| 33 | 8 | 10.5 | 20.79 | 1.22 | 1.3 | 250 | |||
| 47 | 8 | 10.5 | 29.61 | 1.22 | 1.3 | 250 | |||
| 68 | 8 | 10.5 | 42.84 | 1.22 | 1.3 | 250 | |||
| 100 | 10 | 10.5 | 63 | 0.66 | 0.7 | 400 | |||
| 150 | 12.5 | 13.8 | 94.5 | 0.3 | 0.32 | 800 | |||
| 220 | 12.5 | 13.8 | 138.6 | 0.3 | 0.32 | 800 | |||
| 470 | 16 | 16.8 | 296.1 | 0.15 | 0.16 | 1410 | |||
| 680 | 18 | 16.8 | 428.4 | 0.13 | 0.16 | 1690 | |||
| 100 | 22 | 8 | 10.5 | 7 | 7 | 22 | 1.95 | 2.6 | 130 |
| 33 | 10 | 10.5 | 33 | 1.05 | 1.4 | 200 | |||
| 47 | 12.5 | 13.8 | 47 | 0.48 | 0.7 | 500 | |||
| 68 | 12.5 | 13.8 | 68 | 0.48 | 0.7 | 500 | |||
| 100 | 16 | 16.8 | 100 | 0.45 | 0.7 | 793 | |||
| 150 | 16 | 16.8 | 150 | 0.45 | 0.34 | 793 | |||
| 220 | 18 | 16.8 | 220 | 0.4 | 0.7 | 917 | |||
Надёжность конденсаторов
| Безотказность | Наработка tλ, ч, не менее | Интенсивность отказов конденсаторов, λ, 1/ч, не более |
|---|---|---|
| Типовой режим (Uном, Tокр=105°С) | 2 000 | 5x10-4 |
95-процентный срок сохраняемости конденсаторов при хранении в условиях согласно ГОСТ 21493 должен быть 20 лет.
KT - коэффициент коррекции Iном в зависимости от температуры
| Tокр, °C | +25 | +40 | +50 | +60 | +70 | +85 | +100 | +105 |
|---|---|---|---|---|---|---|---|---|
| KT | 1,2 | 1,19 | 1,18 | 1,16 | 1,13 | 1,08 | 1,02 | 1,0 |
KF - коэффициент коррекции Iном в зависимости от частоты
| F, Гц | 50 | 120 | 1000 | 10 000 | 100 000 |
|---|---|---|---|---|---|
| KF | 0,25 | 0,75 | 0,90 | 0,95 | 1 |
Кодированное условное обозначение конденсаторов
(идентификационный номер (partnumber))
Конденсатор К50-107 – 6.3В – 22мкФ (±20) % – ЕВАЯ.673541.070ТУ
(K50-107-В-226M-D4H5Z4-PET-0-070)
1 | 2 | 3 | 4 | 5 | 6 | 7 | 8 |
|---|---|---|---|---|---|---|---|
Конденсатор К50-107 | 6,3В | 22мкФ | ±20% | D=4мм | H=5,4мм | PET | ЕВАЯ.673541.070ТУ |
K50-107 | B | 226 | M | D4 | H5Z4 | PET-0 | 070 |
Код | - |
|---|---|
а | профиль пайки в конвекционной печи 230-260°С |
Код | B | D | E | G | H5 | J | K | N |
|---|---|---|---|---|---|---|---|---|
Uном, В | 6,3 | 10 | 16 | 25 | 35 | 50 | 63 | 100 |
Код | 475 | 106 | 226 | 336 | 476 | 686 |
|---|---|---|---|---|---|---|
Cном, мкФ | 4,7 | 10 | 22 | 33 | 47 | 68 |
Код | 107 | 157 | 227 | 337 | 477 | 108 | 158 |
|---|---|---|---|---|---|---|---|
Cном, мкФ | 100 | 150 | 220 | 330 | 470 | 1000 | 1500 |
Код | M |
|---|---|
Допуск, % | ±20 |
Код | D4 | D5 | D6Z3 | D8 | D10 | D12Z5 | D16 | D18 |
|---|---|---|---|---|---|---|---|---|
Диаметр, мм | 4 | 5 | 6,3 | 8 | 10 | 12,5 | 16 | 18 |
Код | L5Z8 | L6Z1 | L8Z0 | L10Z5 | L13Z8 | L16Z8 |
|---|---|---|---|---|---|---|
Высота, мм | 5,8 | 6,1 | 8,0 | 10,5 | 13,8 | 16,8 |
Код | Расшифровка |
|---|---|
PET-0 | Неизолированные, упаковка в коробку для ручной сборки аппаратуры |
PET-0-8A | Неизолированные, упаковка для автоматизированного монтажа в катушке с расстоянием между осями выводов конденсатора 8 мм |
PET-0-12A | Неизолированные, упаковка для автоматизированного монтажа в катушке с расстоянием между осями выводов конденсатора 12мм |
PET-0-16A | Неизолированные, упаковка для автоматизированного монтажа в катушке с расстоянием между осями выводов конденсатора 16 мм |
PET-0-24A | Неизолированные, упаковка для автоматизированного монтажа в катушке с расстоянием между осями выводов конденсатора 24 мм |
PET-0-28A | Неизолированные, упаковка для автоматизированного монтажа в катушке с расстоянием между осями выводов конденсатора 28 мм |
PET-0-32A | Неизолированные, упаковка для автоматизированного монтажа в катушке с расстоянием между осями выводов конденсатора 32 мм |
Код | Обозначение ТУ |
|---|---|
070 | ЕВАЯ.673541.070ТУ |